51风楼阁官网登录入口怎么登录 ,群狼谷全国论坛,qm楼凤大修车队论坛入口,楼凤阁论坛(品茶)

德国BOSERL研发制造节能环保齿轮减速电机一体机,蜗轮蜗杆减速马达,齿轮减速机带电机19年创办中国BOSERL齿轮减速电机生产厂家”伯仕传动”

齿轮减速电机一体机_蜗轮蜗杆减速马达-德国BOSERL齿轮减速机带电机生产厂家

咨询服务热线:

13360667204

微信13360667204

蜗轮蜗杆减速机
网站首页 > BOSERL减速机 > 斜齿轮蜗轮蜗杆减速机 > SA系列齿轮减速电机

SA89减速机详细信息

prevnext

SA89减速机

订购热线:13360667204
  1. 详细信息

SA89减速机铭牌参数说明解读含义:有关型号描述的详细情况及其他信息可以参阅本业附件下载中的SA89减速机选型样本。

SA89-BEJB5.5KW-4P-39.01-M3-180°

SA:系列代号

89:减速机规格代号

BEJB:电机

5.5KW:电机功率

4P:电机级数

39.01:减速机传动比

M3:减速机安装位置

180°:接线盒位置

微信图片_20220928122108.png

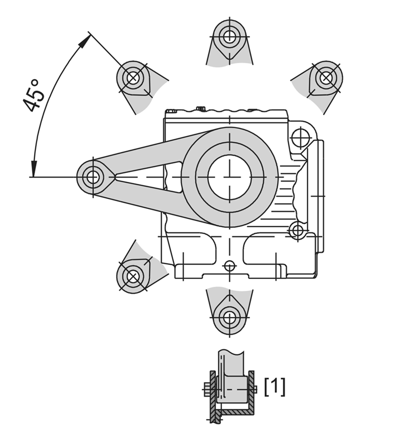
SA89减速机扭力臂安装:

装配时不得对扭矩支架用力过猛,固定扭矩臂时应采用强度为8.8级的螺栓。下图为SA89减速机的扭力臂安装示意图:两面均安装支架。齿轮减速电机

微信图片_20220921114715.png

减速机型号

螺栓

拧紧扭矩

SA39减速机

4xM6x16-8.8

11Nm

SA49减速机

4xM8x20-8.8

25Nm

SA59减速机

6xM8x20-8.8

25Nm

SA69减速机

8xM12x25-8.8

86Nm

SA79减速机

8xM12x35-8.8

86Nm

SA89减速机

8xM16x35-8.8

210Nm

SA99减速机

8xM16x35-8.8

210Nm

SA89减速机电机安装和电机安装位置的调整:

均匀调整螺母将电机安装平台固定到需要的位置。如要将SA89减速机的位置调整到最低,则在必要情况下可以拆除吊装螺栓/吊耳;对于损伤的漆面部位进行修补。自锁减速机

将电机与电机安装平台对准(轴端不许对齐)并固定。

将输入端部件安装于输入端的轴端面和电机轴,将输入部件、轴端与电机轴的位置相互校正;如果必要可以对电机位置进行再次校正。

装上传动部件(V型皮带、链条...)并均匀调节电机安装平台使其预张紧。期间不得用力过猛,否则将会拧坏电机安装平台和螺杆。

拧紧非调整螺母以固定螺杆。伺服电机连接减速机

SA系列减速机.jpg

SA89减速机型号:

SSA87-Y0.55KW,SSA87-Y0.75KW,SSA87-Y1.1KW,SSA87-Y1.5KW,SSA87-Y100M4,SSA87-Y112M4,SSA87-Y11KW,SSA87-Y132M4,SSA87-Y15KW,SSA87-Y160M4,SSA87-Y2.2KW,SSA87-Y3KW,SSA87-Y4KW,SSA87-Y5.5KW,SSA87-Y7.5KW,SSA87-Y71M4,SSA87-Y80M4,SSA87-Y90M4,SSA87-YB100M4,SSA87-YB112M4,SSA87-YB132M4,SSA87-YB160M4,SSA87-YB71M4,SSA87-YB80M4,SSA87-YB90M4,SSA87-YDP100M4,SSA87-YDP112M4,SSA87-YDP132M4,SSA87-YDP160M4,SSA87-YDP71M4,SSA87-YDP80M4,SSA87-YDP90M4,SSA87-YE100M4,SSA87-YE112M4,SSA87-YE132M4,SSA87-YE160M4,SSA87-YE71M4,SSA87-YE80M4,SSA87-YE90M4,SSA87-YEJ100M4,SSA87-YEJ112M4,SSA87-YEJ132M4,SSA87-YEJ160M4,SSA87-YEJ71M4,SSA87-YEJ80M4,SSA87-YEJ90M4,SSA87-YEJB100M4,SSA87-YEJB112M4,SSA87-YEJB132M4,SSA87-YEJB160M4,SSA87-YEJB71M4,SSA87-YEJB80M4,SSA87-YEJB90M4,SSA87-YP100M4,SSA87-YP112M4,SSA87-YP132M4,SSA87-YP160M4,SSA87-YP71M4,SSA87-YP80M4,SSA87-YP90M4,SSA87-YPB100M4,SSA87-YPB112M4,SSA87-YPB132M4,SSA87-YPB160M4,SSA87-YPB71M4,SSA87-YPB80M4,SSA87-YPB90M4,SSA87-YPE100M4,SSA87-YPE112M4,SSA87-YPE132M4,SSA87-YPE160M4,SSA87-YPE71M4,SSA87-YPE80M4,SSA87-YPE90M4,SSA87-YS100M4,SSA87-YS112M4,SSA87-YS132M4,SSA87-YS160M4,SSA87-YS71M4,SSA87-YS80M4,SSA87-YS90M4,SSA87-YVB100M4,SSA87-YVB112M4,SSA87-YVB132M4,SSA87-YVB160M4,SSA87-YVB71M4,SSA87-YVB80M4,SSA87-YVB90M4,SSA87-YVP100M4,SSA87-YVP112M4,SSA87-YVP132M4,SSA87-YVP160M4,SSA87-YVP71M4,SSA87-YVP80M4,SSA87-YVP90M4,SSA87-YVPEJ100M4,SSA87-YVPEJ112M4,SSA87-YVPEJ132M4,SSA87-YVPEJ160M4,SSA87-YVPEJ71M4,SSA87-YVPEJ80M4,SSA87-YVPEJ90M4,NSA87-Y0.55KW,NSA87-Y0.75KW,NSA87-Y1.1KW,NSA87-Y1.5KW,NSA87-Y100M4,NSA87-Y112M4,NSA87-Y11KW,NSA87-Y132M4,NSA87-Y15KW,NSA87-Y160M4,NSA87-Y2.2KW,NSA87-Y3KW,NSA87-Y4KW,NSA87-Y5.5KW,NSA87-Y7.5KW,NSA87-Y71M4,NSA87-Y80M4,NSA87-Y90M4,NSA87-YB100M4,NSA87-YB112M4,NSA87-YB132M4,NSA87-YB160M4,NSA87-YB71M4,NSA87-YB80M4,NSA87-YB90M4,NSA87-YDP100M4,NSA87-YDP112M4,NSA87-YDP132M4,NSA87-YDP160M4,NSA87-YDP71M4,NSA87-YDP80M4,NSA87-YDP90M4,NSA87-YE100M4,NSA87-YE112M4,NSA87-YE132M4,NSA87-YE160M4,NSA87-YE71M4,NSA87-YE80M4,NSA87-YE90M4,NSA87-YEJ100M4,NSA87-YEJ112M4,NSA87-YEJ132M4,NSA87-YEJ160M4,NSA87-YEJ71M4,NSA87-YEJ80M4,NSA87-YEJ90M4,NSA87-YEJB100M4,NSA87-YEJB112M4,NSA87-YEJB132M4,NSA87-YEJB160M4,NSA87-YEJB71M4,NSA87-YEJB80M4,NSA87-YEJB90M4,NSA87-YP100M4,NSA87-YP112M4,NSA87-YP132M4,NSA87-YP160M4,NSA87-YP71M4,NSA87-YP80M4,NSA87-YP90M4,NSA87-YPB100M4,NSA87-YPB112M4,NSA87-YPB132M4,NSA87-YPB160M4,NSA87-YPB71M4,NSA87-YPB80M4,NSA87-YPB90M4,NSA87-YPE100M4,NSA87-YPE112M4,NSA87-YPE132M4,NSA87-YPE160M4,NSA87-YPE71M4,NSA87-YPE80M4,NSA87-YPE90M4,NSA87-YS100M4,NSA87-YS112M4,NSA87-YS132M4,NSA87-YS160M4,NSA87-YS71M4,NSA87-YS80M4,NSA87-YS90M4,NSA87-YVB100M4,NSA87-YVB112M4,NSA87-YVB132M4,NSA87-YVB160M4,NSA87-YVB71M4,NSA87-YVB80M4,NSA87-YVB90M4,NSA87-YVP100M4,NSA87-YVP112M4,NSA87-YVP132M4,NSA87-YVP160M4,NSA87-YVP71M4,NSA87-YVP80M4,NSA87-YVP90M4,NSA87-YVPEJ100M4,NSA87-YVPEJ112M4,NSA87-YVPEJ132M4,NSA87-YVPEJ160M4,NSA87-YVPEJ71M4,NSA87-YVPEJ80M4,NSA87-YVPEJ90M4,WSA87-Y0.55KW,WSA87-Y0.75KW,WSA87-Y1.1KW,WSA87-Y1.5KW,WSA87-Y100M4,WSA87-Y112M4,WSA87-Y11KW,WSA87-Y132M4,WSA87-Y15KW,WSA87-Y160M4,WSA87-Y2.2KW,WSA87-Y3KW,WSA87-Y4KW,WSA87-Y5.5KW,WSA87-Y7.5KW,WSA87-Y71M4,WSA87-Y80M4,WSA87-Y90M4,WSA87-YB100M4,WSA87-YB112M4,WSA87-YB132M4,WSA87-YB160M4,WSA87-YB71M4,WSA87-YB80M4,WSA87-YB90M4,WSA87-YDP100M4,WSA87-YDP112M4,WSA87-YDP132M4,WSA87-YDP160M4,WSA87-YDP71M4,WSA87-YDP80M4,WSA87-YDP90M4,WSA87-YE100M4,WSA87-YE112M4,WSA87-YE132M4,WSA87-YE160M4,WSA87-YE71M4,WSA87-YE80M4,WSA87-YE90M4,WSA87-YEJ100M4,WSA87-YEJ112M4,WSA87-YEJ132M4,WSA87-YEJ160M4,WSA87-YEJ71M4,WSA87-YEJ80M4,WSA87-YEJ90M4,WSA87-YEJB100M4,WSA87-YEJB112M4,WSA87-YEJB132M4,WSA87-YEJB160M4,WSA87-YEJB71M4,WSA87-YEJB80M4,WSA87-YEJB90M4,WSA87-YP100M4,WSA87-YP112M4,WSA87-YP132M4,WSA87-YP160M4,WSA87-YP71M4,WSA87-YP80M4,WSA87-YP90M4,WSA87-YPB100M4,WSA87-YPB112M4,WSA87-YPB132M4,WSA87-YPB160M4,WSA87-YPB71M4,WSA87-YPB80M4,WSA87-YPB90M4,WSA87-YPE100M4,WSA87-YPE112M4,WSA87-YPE132M4,WSA87-YPE160M4,WSA87-YPE71M4,WSA87-YPE80M4,WSA87-YPE90M4,WSA87-YS100M4,WSA87-YS112M4,WSA87-YS132M4,WSA87-YS160M4,WSA87-YS71M4,WSA87-YS80M4,WSA87-YS90M4,WSA87-YVB100M4,WSA87-YVB112M4,WSA87-YVB132M4,WSA87-YVB160M4,WSA87-YVB71M4,WSA87-YVB80M4,WSA87-YVB90M4,WSA87-YVP100M4,WSA87-YVP112M4,WSA87-YVP132M4,WSA87-YVP160M4,WSA87-YVP71M4,WSA87-YVP80M4,WSA87-YVP90M4,WSA87-YVPEJ100M4,WSA87-YVPEJ112M4,WSA87-YVPEJ132M4,WSA87-YVPEJ160M4,WSA87-YVPEJ71M4,WSA87-YVPEJ80M4,WSA87-YVPEJ90M4,ASA87-Y0.55KW,ASA87-Y0.75KW,ASA87-Y1.1KW,ASA87-Y1.5KW,ASA87-Y100M4,ASA87-Y112M4,ASA87-Y11KW,ASA87-Y132M4,ASA87-Y15KW,ASA87-Y160M4,ASA87-Y2.2KW,ASA87-Y3KW,ASA87-Y4KW,ASA87-Y5.5KW,ASA87-Y7.5KW,ASA87-Y71M4,ASA87-Y80M4,ASA87-Y90M4,ASA87-YB100M4,ASA87-YB112M4,ASA87-YB132M4,ASA87-YB160M4,ASA87-YB71M4,ASA87-YB80M4,ASA87-YB90M4,ASA87-YDP100M4,ASA87-YDP112M4,ASA87-YDP132M4,ASA87-YDP160M4,ASA87-YDP71M4,ASA87-YDP80M4,ASA87-YDP90M4,ASA87-YE100M4,ASA87-YE112M4,ASA87-YE132M4,ASA87-YE160M4,ASA87-YE71M4,ASA87-YE80M4,ASA87-YE90M4,ASA87-YEJ100M4,ASA87-YEJ112M4,ASA87-YEJ132M4,ASA87-YEJ160M4,ASA87-YEJ71M4,ASA87-YEJ80M4,ASA87-YEJ90M4,ASA87-YEJB100M4,ASA87-YEJB112M4,ASA87-YEJB132M4,ASA87-YEJB160M4,ASA87-YEJB71M4,ASA87-YEJB80M4,ASA87-YEJB90M4,ASA87-YP100M4,ASA87-YP112M4,ASA87-YP132M4,ASA87-YP160M4,ASA87-YP71M4,ASA87-YP80M4,ASA87-YP90M4,ASA87-YPB100M4,ASA87-YPB112M4,ASA87-YPB132M4,ASA87-YPB160M4,ASA87-YPB71M4,ASA87-YPB80M4,ASA87-YPB90M4,ASA87-YPE100M4,ASA87-YPE112M4,ASA87-YPE132M4,ASA87-YPE160M4,ASA87-YPE71M4,ASA87-YPE80M4,ASA87-YPE90M4,ASA87-YS100M4,ASA87-YS112M4,ASA87-YS132M4,ASA87-YS160M4,ASA87-YS71M4,ASA87-YS80M4,ASA87-YS90M4,ASA87-YVB100M4,ASA87-YVB112M4,ASA87-YVB132M4,ASA87-YVB160M4,ASA87-YVB71M4,ASA87-YVB80M4,ASA87-YVB90M4,ASA87-YVP100M4,ASA87-YVP112M4,ASA87-YVP132M4,ASA87-YVP160M4,ASA87-YVP71M4,ASA87-YVP80M4,ASA87-YVP90M4,ASA87-YVPEJ100M4,ASA87-YVPEJ112M4,ASA87-YVPEJ132M4,ASA87-YVPEJ160M4,ASA87-YVPEJ71M4,ASA87-YVPEJ80M4,ASA87-YVPEJ90M4,GSA89-Y0.55KW,GSA89-Y0.75KW,GSA89-Y1.1KW,GSA89-Y1.5KW,GSA89-Y100M4,GSA89-Y112M4,GSA89-Y11KW,GSA89-Y132M4,GSA89-Y15KW,GSA89-Y160M4,GSA89-Y2.2KW,GSA89-Y3KW,GSA89-Y4KW,GSA89-Y5.5KW,GSA89-Y7.5KW,GSA89-Y71M4,GSA89-Y80M4,GSA89-Y90M4,GSA89-YB100M4,GSA89-YB112M4,GSA89-YB132M4,GSA89-YB160M4,GSA89-YB71M4,GSA89-YB80M4,GSA89-YB90M4,GSA89-YDP100M4,GSA89-YDP112M4,GSA89-YDP132M4,GSA89-YDP160M4,GSA89-YDP71M4,GSA89-YDP80M4,GSA89-YDP90M4,GSA89-YE100M4,GSA89-YE112M4,GSA89-YE132M4,GSA89-YE160M4,GSA89-YE71M4,GSA89-YE80M4,GSA89-YE90M4,GSA89-YEJ100M4,GSA89-YEJ112M4,GSA89-YEJ132M4,GSA89-YEJ160M4,GSA89-YEJ71M4,GSA89-YEJ80M4,GSA89-YEJ90M4,GSA89-YEJB100M4,GSA89-YEJB112M4,GSA89-YEJB132M4,GSA89-YEJB160M4,GSA89-YEJB71M4,GSA89-YEJB80M4,GSA89-YEJB90M4,GSA89-YP100M4,GSA89-YP112M4,GSA89-YP132M4,GSA89-YP160M4,GSA89-YP71M4,GSA89-YP80M4,GSA89-YP90M4,GSA89-YPB100M4,GSA89-YPB112M4,GSA89-YPB132M4,GSA89-YPB160M4,GSA89-YPB71M4,GSA89-YPB80M4,GSA89-YPB90M4,GSA89-YPE100M4,GSA89-YPE112M4,GSA89-YPE132M4,GSA89-YPE160M4,GSA89-YPE71M4,GSA89-YPE80M4,GSA89-YPE90M4,GSA89-YS100M4,GSA89-YS112M4,GSA89-YS132M4,GSA89-YS160M4,GSA89-YS71M4,GSA89-YS80M4,GSA89-YS90M4,GSA89-YVB100M4,GSA89-YVB112M4,GSA89-YVB132M4,GSA89-YVB160M4,GSA89-YVB71M4,GSA89-YVB80M4,GSA89-YVB90M4,GSA89-YVP100M4,GSA89-YVP112M4,GSA89-YVP132M4,GSA89-YVP160M4,GSA89-YVP71M4,GSA89-YVP80M4,GSA89-YVP90M4,GSA89-YVPEJ100M4,GSA89-YVPEJ112M4,GSA89-YVPEJ132M4,GSA89-YVPEJ160M4,GSA89-YVPEJ71M4,GSA89-YVPEJ80M4,GSA89-YVPEJ90M4。

SA89减速机生产厂家展示:看厂请联系微信13827261050,获取位置,需提前一天预约http://m.jzu57.cn/product/list-saxiliejiansuji-cn.html

齿轮减速电机一体机

齿轮减速电机一体机

齿轮减速电机一体机

齿轮减速电机一体机

推荐类似型号:S89减速机

关键词:私服电机带减速机一体机_伺服电机连接减速机_SA系列减速机_私服电机减速机_GSA系列减速机_SA系列减速器_伺服电机连接减速器_私服减速机_私服电机减速器

SA系列减速机型号:SA39减速机,SA49减速机,SA59减速机,SA69减速机,SA79减速机,SA89减速机,SA99齿轮减速电机

SA系列自锁减速机可配变频电机,刹车电机,防爆电机,伺服电机,交流电机,直流电机,三相电机,单相电机 0.12KW-22KW之间


如需工程师帮选型,请加微信13827261050,留言告知工程师参数要求



标签:   SA89减速机 SA87减速机结构图 SA87减速机数模 SA87减速机样本 SA87减速机规格

跟此产品相关的文档 / Related DownLoad

产品文件名称 点击下载
SA89减速机数模 点击下载
SA89减速机样本 点击下载